
MRHD系列單投刀開關適用于交流50Hz、額定電壓至380V、直流至220V,額定電流至3000A的成套配電裝置中,作為不頻繁地手動接通和分斷交、直流電路或作隔離開關用。其中:
1.1中央手柄式的單投刀開關主要用于變電站,不切斷帶有電流的電路,作為隔離開關之用。
1.2側面操作手柄式刀開關,主要用于動力箱中。
1.3中央正面杠桿操作機構刀開關主要用于正面操作、后面維修的開關柜中,操作機構裝在正前方。
1.4側方正面操作機構式刀開關主要用于正面操作、前面維修的開關柜中,操作機構可以在柜的兩則安裝。
1.5裝有滅弧室的刀開關可以切斷電流負荷,其他系列刀開關只作隔離開關使用。本產品符合GB14048. 3-2002標準。
額定電壓為交流380V、直流220。
額定電流為1 00、200、400、600、1 000、1 500、2000、3000A。
主要技術性能參數(見表1)
| 額定電流(A) | 100 | 200 | 400 | 600 | 1000 | 1500 | 2000 | 3000 | |
| 通斷能力(A) | AC 380V. cosφ=0. 72~0.8 | 100 | 200 | 400 | 600 | 1000 | 1500 | ||
| DC T=O. 01~0. 01 IS 220V | 100 | 200 | 400 | 600 | 1000 | 1500 | |||
| 機械壽命(次 | 10000 | 10000 | 10000 | 5000 | 5000 | 5000 | 3000 | 3000 | |
| 電壽命(次) | 1000 | 1000 | 1000 | 500 | 500 | 500 | 300 | 300 | |
| 1S短時耐受電流(kA) | 6 | 10 | 20 | 25 | 30 | 40 | 50 | 50 | |
| 動穩定電流峰值(kA) | 杠桿作式 | 20 | 30 | 40 | 50 | 60 | 80 | 100 | 100 |
| 手柄式 | 15 | 20 | 30 | 40 | 50 | ||||
| 操作力(N) | ≤300 | ≤300 | ≤400 | ≤400 | ≤450 | ≤450 | ≤450 | ≤450 | |
3.4正常工作條件和安裝條件(見備注)
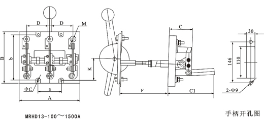
| 型號 | 外形尺寸 | 安裝尺寸 | ||||||||||
| A | B | C | C1 | D | F | a | b | Φc | K | M | ||
| MRHD13-100 | 2極 | 190 | 190 | 80 | 160 | 80 | 250 | 160 | 160 | Φ7 | 82 | M8 |
| 3極 | 210 | 190 | 80 | 160 | 80 | 250 | 80 | 160 | Φ7 | 82 | M8 | |
| 4極 | 290 | 190 | 80 | 160 | 80 | 250 | 160 | 160 | Φ7 | 82 | M8 | |
| MRHD13-200 | 2極 | 190 | 190 | 80 | 160 | 80 | 250 | 160 | 160 | Φ7 | 82 | M8 |
| 3極 | 210 | 190 | 80 | 160 | 80 | 250 | 80 | 160 | Φ7 | 82 | M8 | |
| 4極 | 290 | 190 | 80 | 160 | 80 | 250 | 160 | 160 | Φ7 | 82 | M8 | |
| MRHD13-400 | 2極 | 220 | 205 | 92 | 180 | 90 | 250 | 180 | 160 | Φ7 | 88 | M12 |
| 3極 | 240 | 205 | 92 | 180 | 90 | 250 | 90 | 160 | Φ7 | 88 | M12 | |
| 4極 | 330 | 205 | 92 | 180 | 90 | 250 | 190 | 160 | Φ7 | 88 | M12 | |
| MRHD13-600 | 2極 | 240 | 300 | 100 | 188 | 100 | 250 | 200 | 160 | Φ9 | 82 | M16 |
| 3極 | 270 | 300 | 100 | 188 | 100 | 250 | 100 | 160 | Φ9 | 82 | M16 | |
| 4極 | 370 | 300 | 100 | 188 | 100 | 250 | 200 | 160 | Φ9 | 82 | M16 | |
| MRHD-T3=1000 | 2極 | 280 | 315 | 116 | 226 | 120 | 250 | 240 | 160 | Φ9 | 78 | 2-M12 |
| 3極 | 325 | 315 | 116 | 226 | 120 | 250 | 120 | 160 | Φ9 | 78 | 2-M12 | |
| 4極 | 450 | 315 | 116 | 226 | 120 | 250 | 240 | 160 | Φ9 | 78 | 2-M12 | |
| MRHD-13=1500 | 2極 | 310 | 355 | 125 | 238 | 130 | 250 | 260 | 160 | Φ11 | 78 | 4-M12 |
| 3極 | 360 | 355 | 125 | 238 | 130 | 250 | 130 | 160 | Φ11 | 78 | 4-M12 | |
| 4極 | 490 | 355 | 125 | 238 | 130 | 250 | 260 | 160 | Φ11 | 78 | 4-M12 | |
| 型號 | 約定發熱電流A | A | B | C | D | E | F | H | a | b | φ M | φ n |
| MRHD13 | 2000 | 502 | 192 | 350 | 100 | 161 | 179 | 215 | 50 | 30 | 11 | 13 |
| 3000 | 602 | 195 | 394 | 119 | 161 | 200 | 245 | 69 | 40 | 13 | 17 |
1、周圍空氣溫度不高于+40℃,不低于-5℃。
2、安裝地點的海撥不超過2000m。
3、濕度:
最高溫度為+40℃時,空氣的相對濕度不超過50%,在較低的溫度下可以允許有較高的
相對濕度,例如20℃時達90%。對由于溫度變化偶爾產生的凝露應采用特殊的措施。
4、周圍環境的污染等級為3級。
5、開關應安裝在無顯著搖動、沖擊振動和沒有雨雪侵襲的地方,同時安裝地點應無
爆炸危險介質,且介質中無足以腐蝕金屬和破壞絕緣的氣體和塵埃。
