
KYN61-40.5(Z)型鎧裝移開式交流金屬封閉開關柜(以下簡稱開關柜)系三相 交流50Hz,額定電壓405kV的戶內成套配電裝置。作為發電廠、變電站及工礦企 業接受和分配電能之用。對電路起到控制保護和檢測等功能,還可用于頻繁操 作的場所。本開關符合GB/T11022、GB3906及DL404等標準。
◆柜體結構采用組裝式,斷路器采用手車落地式結構;
◆配用全新型復合絕緣真空斷路器,并具有互換性好更換簡單之特點;
◆手車車架中裝有絲桿螺母推進機構,可輕松移動手車,并防止誤操作而損壞推進結構;
◆所有的操作均可在柜門關閉狀態下進行,
◆主開關、手車開關柜門之間的聯鎖均采用強制性機構閉鎖方式,滿足“五防”功能;
◆電纜室空間充裕,可連接多根電纜;
◆快速接地開關用于接地和回路短路;
◆外殼防護等級IP3×,手車室門打開狀態下,防護等級IP2×;
◆產品符合GB3906、 Dl404及參照采用國際IEC298標準。
◆環境溫度:上限+40℃;且24h小時內測得的平均值不超過35℃,下限-10 ℃。
◆海拔高度不超過1000m
◆相對濕度:日平均值不超過95%.月平均值不超過90%。
◆地震烈度:不超過8度。
◆水蒸汽壓力: 日平均值不超過2.2kPa,月平均值不超過1.8kPa。
◆周圍環境:無火災、爆炸危險、嚴重污穢、化學腐蝕及劇烈振動的場所

真空開關柜主要技術參數
| 序號 | 項目 | 單位 | 參數 |
| 1 | 額定電壓 | kV | 40.5 |
| 2 | 額定電流 | A | 1250、1600、2000 |
| 3 | 額定頻率 | Hz | 50 |
| 4 | 額定短時耐受電流 | kA | 20、25、31.5 |
| 5 | 額定峰值耐受電流 | kA | 50、63、80 |
| 6 | 額定工頻耐受電壓 | kV | 95/1min |
| 7 | 額定雷電沖擊耐受電壓 | kV | 185 |
| 8 | 額定短路持續時間 | s | 4 |
| 9 | 防護等級 | IP3X |
真空開關柜主要技術參數
| 序號 | 項目 | 單位 | 參數 |
| 1 | 額定電壓 | kV | 40.5 |
| 2 | 額定頻率 | Hz | 50 |
| 3 | 額定工頻耐受電壓 | kV | 95/1min |
| 4 | 額定雷電沖擊耐受電壓 | kV | 185 |
| 5 | 額定電流 | A | 1250、1600、2000 |
| 6 | 額定短時耐受電流 | kA | 20、25、31.5 |
| 7 | 額定短時開斷電流 | kA | 20、25、31.5 |
| 8 | 額定峰值耐受電流 | kA | 50、63、80 |
| 9 | 額定短路持續時間 | S | 4 |
| 10 | 分閘時間 | S | 30<=t<=60 |
| 11 | 合閘時間 | S | 50<=t<=100 |
| 12 | 額定短路開斷電流次數 | 次 | 20 |
| 13 | 機械壽命 | 次 | 10000 |
彈簧操動機構主要技術參數
| 名稱 | 單位 | 參數 | |
| 額定操作電壓 | 分閘線圈 | V | DC220/110、AC220/110 |
| 額定操作電流 | 合閘線圈 | ||
| 分閘線圈 | |||
| 合閘線圈 | A | 0.96(220V)、1.05(110V) | |
| 儲能電機功率 | W | 230 | |
| 儲能電機額定電壓 | V | DC220/110、AC220/110 | |
| 儲能時間 | S | <=12 | |
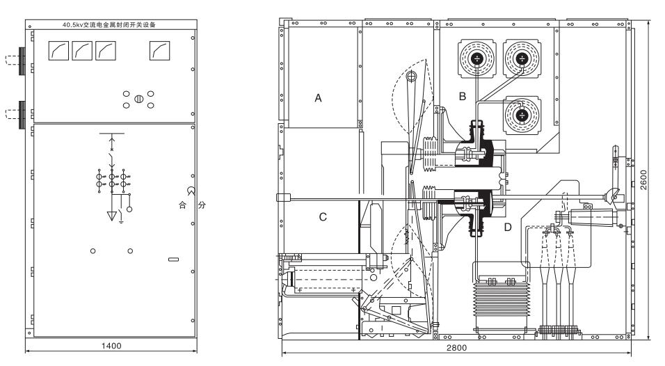
開關柜結構說明
開關柜按GB3906和IEC298中愷裝式金屬封閉開關設備標準而設計。整體由柜體和可抽出部分(手車)兩部分組成。柜體結構為組裝式。用高強度螺栓和鉚螺母連接而成。用金屬隔板將開關柜內部分隔為斷路器室、主母線室、電纜室和繼電器儀表室。外殼防護等級達到IP3X,各隔室間防護等級為IP2X,并且所有金屬結構件可靠接地,主回路系統的各隔室有獨立排氣的壓力釋放通道。
◆外殼與隔板:
開關柜的外殼和隔板是用敷鋁鋅板經數控機床加工和折彎之后連接而成。因此裝配好的開關柜能保證結構尺寸的統一性。開關柜被分隔為斷路器室、主母線室、電纜室和繼電器儀表室,各部分以接地的金屬板分隔。
◆手車:
手車根據用途可分為斷路器手車、電壓互感器手車、計量手車、隔離手車等。各類手車的外形尺寸相同,相同用途的手車具有互換性。手車在柜內有試驗/隔離位置和工作位置,每一次位置都設有聯鎖裝置以保證手車處于以上兩位置時不能隨便移動。
◆斷路器隔室:
斷路器隔室內安裝了特殊軌道供手車移動。斷路器在試驗位置與工作位置之間移動時.隔離活門自動打開或關閉,保障了工作人員不觸及帶電體。手車可在柜門關閉的情況下被操作,通過觀察窗可看到手車在柜內所處的位置。同時看到車上的任何功能標志。
◆母線小室:
主母線從一個開關柜引至另一個開關柜通過分支母線和靜觸頭盒固定。在穿越鄰柜側板時用母線套管固定。全部母線采用復合絕緣方式。
◆電纜隔室:
電纜室內可安裝PT、CT、接地開關、避雷器和多根電纜。
◆繼電器室:
繼電器室內板和面板可安裝控制、保護元件、計量、顯示儀表、帶電監測顯示器等二次元件。
◆聯鎖裝置:
開關柜具有可靠的聯鎖裝置,切實保障了操作人員及設備的安全。
當接地開關在分閘位置時,手車才能從試驗/隔離位置移至工作位置;且后門不可能打開,防止了誤入帶電間隔。
當手車完全拉出柜外時或手車在柜內試驗/隔離位置且接在開關聯鎖解鎖時,可以進行接地開關合閘操作;手車在工作位置時,不能閉合接地開關。防止了帶電誤合接地開關,阻止了接地開關處在閉合位置時將手車移至工作位置。
斷路器手車在試驗/隔離位置或工作位置時,才能操作斷路器;且斷路器合閘后,手車無法移動,防止了帶負荷誤推拉斷路器。
各柜體間可裝電氣聯鎖。
◆接地裝置:
在電纜室內,單獨設有6x50mm²接地母線,此母線能貫穿相鄰各柜,與柜體良好接觸。
◆開關柜結構特征
外形尺寸(寬x深x高):
1400 x 2800 x 2600
◆開關柜結構示意圖
A繼電器儀表室
B母線室
C斷路器室
D電纜室
a、電器室的高度:≥4500mm;
b、柜后距墻距離:≥1500mm;
c、基礎構架的平面度:≤1mm/m²;
d、基礎預埋槽鋼高出地面部分不得超過3mm;
e、可用螺栓或焊接方式固定在基礎上;
f、開關柜重量約1800kg;
g、開關柜操作走廊寬度(單列):≥3000mm;雙面(面對面≥34000mm。
開關柜的一次接線方案有27個常用典型方案,能滿足用戶電纜進出線、架空進出線,聯絡級測量、保護等的需要,若有不同與現有方案的其他方案的需要,請與廠方協商。
訂貨時用戶需提供以下資料
◆一次線路主方案編號、單母線系統圖、排列圖及平面布置圖;
◆二次回路電氣原理圖及端子排列圖;
◆開關柜電器元件的型號、規格及數量;
◆主母線、分支母線的規格及材質;
◆備品、備件的名稱及數量;
◆特殊要求同廠方商定。
因產品技術需不斷改進,所以數據應以本廠技術部門最新確認為準,如有變動,恕不另行通知。
